- 霧化減溫器的高壓旁路 high-pressure bypass station with atomizing steam desuperheater
- 輔助氣體調節閥 auxiliary steam control valve
- 石油天然氣調節閥 oil and gas control valve
- 蒸汽啓閉調節閥 steam blow-off control valve
- 鍋爐啓動調節閥 boiler startup control valve
- 給水啓動調節閥 feedwater starup control valve
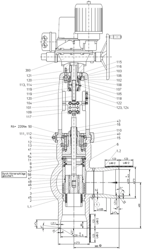
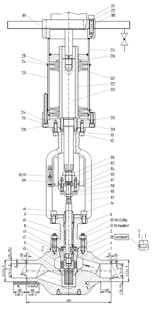
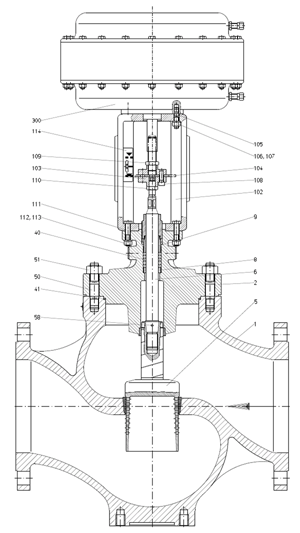
- 給水調節閥 feedwater control valve
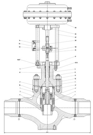
- 給水調節閥 feedwater control valve
- 給水調節閥 feedwater control valve
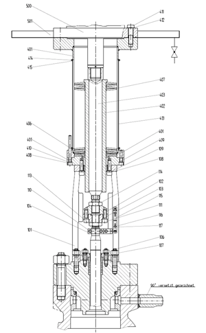
- 給水調節閥 feedwater control valve
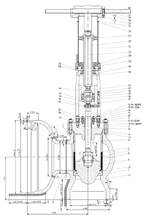
- 冷凝水排放調節閥 condensate drain control valve
- 噴水閥 water injection valve
- 高壓旁路内置霧化減溫器 high-pressure bypass station with pressurized desuperheater
- 高壓旁路内置霧化減溫器 high-pressure bypass atstion actuator
- 低壓旁路截止閥 low-pressure bypass staion
- 冷凝水調劑閥 condensate drain control valve
- 蒸汽轉換閥 steam conversion valve
- 蒸汽減壓閥 steam reducing valve
- 霧化蒸汽減溫器 atomizing steam desuperheater
- 噴水閥 water injection valve